У
1998ПРЕДВИДЕНИЕ И ДЕТЕРМИНИЗМ
О.А.Шмагунов, Ю.И.Наберухин
Исследуется проблема детерминизма, главным образом – теологического, вытекающего из существования всеведущего Бога, и логического, связанного с допущением истинностных суждений о будущих случайных событиях. Показано, что непосредственное предвидение совершается вне времени, т.е. не зависит от временного отношения события и акта его предвидения. Совместимость свободы выбора для человека с божественным предвидением подразумевает вневременное существование Бога.
Введение
Проблема детерминизма относится к числу сквозных в философии. Она возникла в древнегреческой философии как проблема фатализма, соотношения необходимости и случайности; с появлением христианства она дополнилась аспектом соотношения божественного предвидения (или провидения) и свободы воли; в ХХ в. она стала обсуждаться с применением современного логического аппарата, в частности, модальных логик. Несмотря на все усилия, проблема не закрыта до сих пор [1], что указывает на ее подлинно философский характер.
Суть детерминизма сводится к отрицанию свободы воли. Обычно различают три вида детерминизма в зависимости от оснований, на которые эта концепция опирается: причинность, логику или предвидение. Соответствующие виды детерминизма называют причинным, логическим и теологическим. Ниже приводятся типичные детерминистические аргументы в формулировках, взятые из сборника “God, Foreknowledge, and Freedom” [2].
Общая посылка. Пусть субъект S совершает в момент t2 действие A. Подразумевается, что действие A является случайным, т.е. S, в принципе, мог бы его и не совершать.
Причинный детерминизм. Допустим, что в любой момент времени полная совокупность сведений о мире в этот момент вместе с полной совокупностью законов природы влечет за собой все, что случится после этого момента времени. Отсюда следует, что положение дел C в момент t1(t1<t2) вместе с законами природы L приводит к тому, что S необходимо совершает A в t2. Таким образом, все в мире происходит с необходимостью, следовательно, и все человеческие действия носят необходимый характер, т.е. не являются результатом свободного выбора.
Логический детерминизм. В любой момент времени, в частности, в момент t1<t2, было истинно, что S совершит A в t2. Но если в t1 было истинно, что S совершит A в t2, то S совершит A в t2 с необходимостью, т.е. не сможет поступить по-другому. (Доказывается, например, от противного: если S не совершит A в t2, то, то в t1 не было бы истинно, что S совершит A в t2.) Это легко обобщается на любые события в мире, в частности, исключая тем самым возможность свободного выбора для человека.
Теологический детерминизм. Допустим, что существует всеведущий вечный Бог, который знает все прошлые, настоящие и будущие события. Поскольку в любой момент t1, , предшествующий t2, Бог уже знал (предвидел), как поступит S в t2, и поскольку Его знание непогрешимо, постольку необходимо, что S совершит A в t2. (Один из вариантов доказательства – от противного: если S не совершит A в t2, то окажется, что Бог в t1 ошибался, что невозможно в силу его всеведения.) Опять-таки, это легко обобщается на любые человеческие поступки, придавая всем человеческим действиям необходимый, т.е. не свободный, характер.
Внимательно рассматривая эти аргументы, можно заметить, что первый существенно отличается от второго и третьего тем, что фигурирующее в нем понятие закона однозначно связывает события в моменты времени t1 и t2, т.е. детерминизм заложен уже в его посылке. Во втором и третьем аргументах детерминизм не присутствует явным образом, – он выводится из посылок путем логических рассуждений. Наша цель будет состоять в логическом анализе проблемы детерминизма, поэтому мы сосредоточим свое внимание, главным образом, на втором и третьем аргументах.
Второй аргумент в значительной степени основывается на предположении об истинности будущих случайных событий. Возможны ли такие высказывания – вопрос сложный. Известны многочисленные попытки разрешить эту проблему, но общепризнанного решения не существует, поскольку она ведет к целому ряду других вопросов, в частности связанных с онтологическим статусом понятия истинности и логики вообще. Некоторые аспекты этой проблемы рассматривались в работе А.И.Гулидова и Ю.И.Наберухина [3].
Ключевым понятием третьего аргумента является понятие предвидения. В отличие от проблемы истинности будущих событий, представление о предвидении является интуитивно более ясным, а, следовательно, легче поддающимся анализу. Этим анализом мы и займемся в следующем разделе.
Анализ понятия предвидения
Предвидение – это истинное знание (или правильное мнение) о событиях, которые произойдут в будущем по отношению к моменту времени, когда предвидение осуществляется. Под истинным знанием мы будем понимать некоторое утверждение (высказывание), отвечающее действительному положению дел в мире. Можно выделить три ситуации, в которых знание о мире заведомо будет истинным:
1) положение дел в мире определяется утверждением о нем;
2) утверждение о положении дел в мире и положение дел в мире независимы, но, тем не менее, соответствуют друг другу;
3) утверждение описывает действительное положение дел в мире.
Первая возможность в контексте концепции божественного предвидения есть не что иное, как предопределение: Бог предвидит все события в мире потому, что сам определяет их. Эта точка зрения достаточно популярна в философских и особенно теологических трактатах. Ее сторонники полагают, что божественное предвидение определяет выбор тех поступков, которые совершает человек. Принято считать, что это исключает возможность свободы выбора. Поскольку нас интересует именно свобода выбора (так называемая “свобода сделать по-другому”), мы не будет останавливаться на этой точке зрения.
Согласно второй точке зрения, что знание о будущем и сами будущие события, являясь независимыми, тем не менее, в точности соответствуют друг другу. Одна из возможных интерпретаций этой точки зрения – это научный прогноз. Действительно, нельзя сказать, что сами будущие события определяют прогноз и, тем более, что прогноз определяет будущие события. И тем не менее, они могут достаточно хорошо коррелировать друг с другом. Для того чтобы такое предвидение было точным, необходимо наличие двух условий: абсолютно точного знания текущего положения дел в мире и существования жестких законов, однозначно определяющих его изменение в будущем. В этом случае теологический детерминизм сводится к причинному.
Итак, обе рассмотренные концепции предвидения исключают свободу воли человека.
С третьей точки зрения предвидение можно понимать как непосредственное знание будущих событий. Чтобы прояснить это представление и увидеть, что из него следует, сформулируем проблему теологического детерминизма в более наглядном виде. Будем схематично изображать действия
A1, A2, ..., совершаемые индивидом, в виде ломаной линии над временной осью t. Точка (излом) на этой ломанной будет символизировать действие, а ветвление в какой-–-либо точке – наличие выбора между двумя (или более) действиями.Пусть
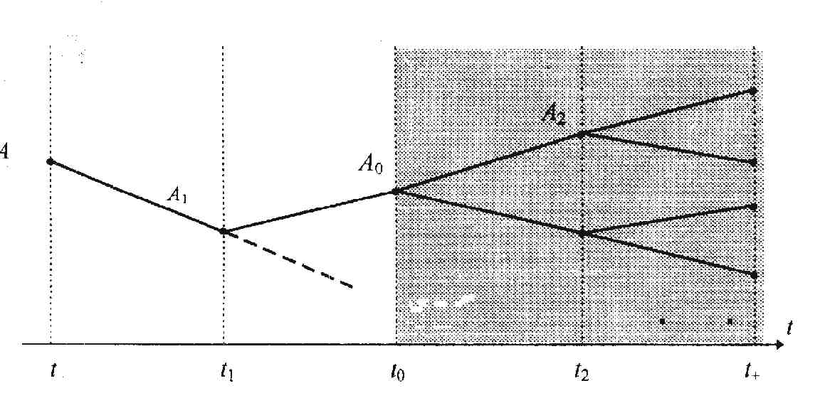
t0 – настоящий момент времени, t– – наиболее ранний интересующий нас момент прошлого, и t+ – наиболее отдаленный интересующий нас момент будущего. Тогда совокупность действий, совершенных субъектом на интервале времени [t–, t+], схематично можно изобразить так, как показано на рис.1.
Рис.1
.Момент
t0 делит временную ось на две части: [t–, t0] – известные нам события, и [t0, t+] – будущие неизвестные события (заштрихованная область). Отрезки [t–, t0] и [t0, t+] существенно асимметричны по отношению к нам, а именно,: потенциально мы можем знать все об отрезке [t–, t0], но практически ничего достоверного – об отрезке [t0, t+]. Как видно из рисунка, ситуация на интервале [t–, t0] фактически оказывается "одномерной": независимо от того, имеем ли мы выбор или нет, в каждый момент времени мы находились не более чем в одной точке ломанной, т.е. наше положение может быть однозначно охарактеризовано набором совершенных нами действий (A–, ..., A0). Начиная с момента t0, траектории событий в каждой точке ветвятся, что отражает наличие для нас возможности выбора при достижении этих точек.Далее, если мы считаем, что существует всеведущий Бог, то это значит, что Бог знает в любой момент, предшествующий
t0, что, скажем, в момент t2 мы находимся в точке A2 "дерева" действий. В общем случае к точке A2 ведет из A0 лишь одна траектория. В силу произвольности момента t2 оказывается, что мы всегда действуем лишь единственно возможным образом. В этом и заключается сущность концепции теологического детерминизма.Для упрощения последующих рисунков будем проецировать точки, изображающие действия, на временную ось, так что схема рис.1 примет вид, показанный на рис.2.
Рис. 2
.Научному предвидению соответствует следующая картина, представленная на рис.3.:
Рис.3
.Стрелки на этом рисунке показывают направленность причинно-следственной связи. Толстые стрелки соответствуют причинно-следственной связи между событиями в мире, а тонкие – связи между положением дел в мире и утверждениями о положении дел в мире. Последний вид связи мы
будем называть информационным, чтобы подчеркнуть его специфику. Положение дел в мире в этом случае является скорее источником информации, содержащейся в высказывании, чем действующей причиной, порождающей само высказывание. На рис.3 положение Бога вынесено за пределы временной оси лишь для удобства восприятия. Научное предвидение позволяет точно рассчитывать любые будущие события, в том числе результаты выборов, совершаемых человеком, на основе состояния дел в мире вплоть до момента t0 при помощи законов, задающих причинно-следственные связи между событиями. Таким образом, в этом случае может не существовать прямой информационной связи между событием и актом его предвидения, что показано на рисунке пунктирной линией. Как мы уже видели, при этом теологический детерминизм сводится к причинному детерминизму, в котором отсутствует свобода воли.Непосредственное предвидение изображается следующей схемой, представленной на рис.4. На этой схеме сейчас отсутствуют толстые стрелки, символизирующие причинно-следственные связи между событиями.
Рис. 4
.Для непосредственного предвидения существенны только информационные связи, изображенные тонкими стрелками. Будущее событие является источником информации, которую, по предположению о всеведении, способен усмотреть Бог в момент
t0. Если же эти информационные связи описывать в терминах причинно-–-следственных отношений, то рис.4 отчетливо показывает, что в акте предвидения некоторого будущего события само событие выступает как причина, а знание Бога о нем – как следствие. Происходит своеобразное обращение причинно-следственной связи во времени. Таким образом, ситуация, изображенная на рис.4, приводит к парадоксу: непосредственное предвидение подразумевает передачу информации из будущего.Для разрешения этого парадокса нужно обратить внимание на симметричность для Бога прошлого и будущего. Действительно, для человека прошлое и будущее существенно асимметричны: человек знает прошлое, но не знает будущего. Граница между этими двумя временными областями – настоящее. Таким образом, человек оказывается прикрепленным к некоторому выделенному моменту во времени – границе между известным и неизвестным. Для всеведущего Бога прошлое и будущее абсолютно симметричны. Он одинаково хорошо знает как то, так и другое, причем независимо от отдаленности событий во времени, ибо нелепо полагать, что Бог может забывать. Таким образом, ситуации а, б, в на рис.5 оказываются для Бога совершенно эквивалентными. Сумма знаний Бога о мире не меняется со временем, для Него не существует какого-либо выделенного момента во времени, так что правильнее изображать отношение Бога к миру рисунком 5г.
Рис.
5.Это, по существу, означает, что Бог пребывает вне времени. Таким образом, понятия будущего для Бога не существует, а следовательно, нет и потока информации из будущего в прошлое. Так разрешается парадокс предвидения и тем самым оказывается некорректной сама постановка проблемы теологического детерминизма, базирующаяся на представлении о предвидении Богом будущего: теперь уже нельзя сказать, что Бог предвидел будущее в какой-–-либо выделенный момент времени.
Однако, как замечали многие философы, теологический детерминизм в этом случае можно свести к логическому
[4]. В самом деле, даже если не имеет смысла говорить об акте предвидения в определенный момент времени, тем не менее, можно говорить об истинности в некоторый момент времени предложения, выражающего факт предвидения. Например, сто лет назад предложение: “Бог вне времени знает, что 1 июня 1999 года идет дождь”, – было истинным. Таким образом, заменив в первоначальном тезисе теологического детерминизма “истинность предвидения” на “истинность предложения, выражающего факт предвидения”, мы приходим к аргументу, по сути напоминающему исходный аргумент теологического детерминизма, но по форме являющемуся аргументом логического детерминизма, поскольку речь теперь идет об истинности высказываний о будущих событиях.Посмотрим, как представление об обращенной причинности может помочь разрешить проблему логического детерминизма. Заметим, что причинность здесь носит не физический, а логический характер, поэтому предположение об ее обращенности не ведет к каким-либо парадоксам (см. рис.6).
Рис. 6.
В
t1 было истинно, что S совершит поступок A в t2: T(A(t2)) (см. формулировку аргумента логического детерминизма в начале работы), потому, что S совершает поступок A в t2. Обращаем внимание, что поступок здесь выступает как причина, а его истинность в t1 – как следствие. Аргумент далее утверждает, что поскольку в t1 было истинно, что S совершит поступок A в t2, постольку S совершит A в t2 с необходимостью, так как в противном случае в t1 не было бы истинно, что S совершит A в t2. Нетрудно видеть, что в этой второй части аргумента истинность высказывания в t1 о событии A в t2 рассматривается как нечто первичное по отношению к человеческому поступку в t2 (т.е. как его причина) и говорится, что поступок в t2 (выступающий здесь уже как следствие) не должен противоречить истинности высказывания о нем в t1. Происходит неявная подмена следствия причиной и причины следствием! Рис.6 как раз отчетливо показывает, что человеческий поступок в t2 выступает как активное начало, а его истинность в t1 – как пассивное. Иными словами, истинность высказывания о событии определяется событием, а не наоборот, даже если высказывание и опережает событие во времени [5].Таким образом, аргумент логического детерминизма содержит скрытую логическую ошибку и поэтому не может служить для обоснования детерминации человеческой воли божественным предвидением.
Некоторые парадоксы предвидения
С проблемой теологического детерминизма связаны некоторые парадоксы, которые получают простое разрешение на основе развиваемой здесь интерпретации концепции непосредственного предвидения.
1. "Отснятый фильм" Лукасевича. Этот парадокс приводит Я.Лукасевич в статье "О детерминизме" [6]. Хотя он говорит не о божественном предвидении, а об истинности будущих событий, это не меняет сути проблемы, – как мы показали выше, логический детерминизм схож с теологическим.
Лукасевич сравнивает человеческую историю с отснятым фильмом: “Поскольку все, что когда-нибудь осуществится и когда-нибудь будет истинным, сегодня уже истинно, было им извечно, то будущее точно так же осуществлено, как и прошлое. Только лишь еще не наступило. Детерминист рассматривает события, происходящие в мире, как повторную демонстрацию кинодрамы, отснятой где-то во всемирной киностудии. Мы находимся внутри представления, и хотя каждый из нас не только зритель, но и участник действия, тем не менее, финал фильма нам не известен. Но этот финал есть, существует с начала представления, ибо весь фильм отснят бесконечно давно. В этом фильме заранее предусмотрены все наши роли, все наши приключения и жизненные коллизии, все наши решения и злые и добрые поступки, моменты и твоей, и моей смерти. Во всемирной драме мы выступаем лишь в роли марионеток. Нам не остается ничего другого, как только созерцать зрелище и терпеливо ожидать конца” [7].
Этот фильм запечатлел все, что произойдет в будущем, в том числе все наши поступки. На первый взгляд, это исключает для нас любую онтологическую возможность выбора, ведь фильм уже запечатлел каждый наш выбор. Ключ к разрешению парадокса заключается в слове "уже". Фильм уже существует лишь для Бога, поскольку для него открыто все от начала до конца. Для нас же фильм еще не завершен, нам еще предстоит совершить то, что будет "отснято" на пленку. Граница между "уже" и "еще" – это граница между знанием и незнанием будущего. Парадокс возникает, когда мы игнорируем эту границу и пытаемся представить себе и истинное предвидение, и свободные действия с какой-либо одной точки зрения – либо по одну сторону от границы, либо – по другую. Ни то, ни другое не правильно, и, как мы пытались показать выше, для понимания этого не нужно ссылаться на "ограниченность человеческого разума". Достаточно лишь допустить, что будущее открыто для Бога непосредственно или – (эквивалентность чего мы также пытались показать) – что Бог находится вне времени.
t
Рис. 7.
Таким образом, в определенном смысле фильм находится, в определенном смысле, вне времени, в вечности. При "проецировании" во время, фильм оказывается не в какой-либо определенной точке времени, а "раскручивается" по всей временной оси (рис.7). Те "кадры" фильма, которые "проецируются" в наше будущее, с нашей точки зрения еще не "сняты", поэтому они не накладывают никакого ограничения на волю человека в выборе поступков.
2. "Непогрешимая книга" (НК) Уайдеркера [8]. Этот пример похож на предыдущий, однако в формулировке Д.Уайдеркера имеет существенное отличие. Уайдеркер для иллюстрации божественного предвидения вводит понятие Непогрешимой книги.
Допустим, что когда-то существовала Непогрешимая книга (НК). НК непогрешима в следующем смысле: необходимо, что если она содержит какое-–-либо предложение, то это предложение истинно. Теперь представим себе, что в некоторый момент времени t1 НК содержала предложение: “S совершит поступок A в t2.”. Это ведет к тому, что S необходимо должен совершить A в t2, поскольку в противном случае предложение об этом в t1 не было бы истинным, а следовательно, не могло бы содержаться в НК.
Ситуация похожа на случай Божественного предвидения с тем отличием, что проблема поставлена еще более отчетливо: если предвидение может толковаться по-разному, то здесь утверждение о будущем ясно зафиксировано на бумаге в некоторый момент прошлого. В этом примере Непогрешимая книга изначально существует во времени, во всяком случае в некоторые моменты времени она может содержать утверждения о будущих по отношению к ним событиях. Принимая во внимание все, что мы раньше говорили о предвидении, можно утверждать, что существование такой книги невозможно без ограничения свободы человека. Но даже если бы такая книга существовала, она не имела бы отношения к проблеме теологического детерминизма. Если бы мы хотели Непогрешимой книгой проиллюстрировать божественное предвидение, то мы должны были бы изначально предположить, что она существует вне времени. По аналогии с предыдущим примером "проецирование" Непогрешимой книги во время привело бы к ее равномерному распределению по временному континууму (рис.8).
Рис.8
С нашей точки зрения некоторые страницы этой книги были бы еще не “напечатаны”, а те, которые уже существовали, повествовали бы о событиях нашего прошлого и никак не могли бы ограничивать нашу свободу.
Чтобы лучше понять суть сказанного, на эту ситуацию можно взглянуть еще с другой стороны. Допустим, что мы ведем дневник, куда каждый вечер записываем все, что мы сделали за прошедший день. Этот дневник будет содержать все, что мы совершили в своей жизни в прошлом, но в нем не будет ни слова о том, что мы сделаем в будущем. Теперь взглянем на этот дневник с точки зрения Бога, которому открыто будущее, который может знать будущие события непосредственно (рис.9).

Рис. 9
Очевидно, что Бог будет знать содержание всего дневника – от нашего рождения до нашей смерти. Для Него это будет своего рода Непогрешимой книгой, повествующей о нашей жизни. Однако то, что Он имеет всю эту книгу, никак не ограничивает нашей свободы, поскольку для нас существуют лишь те страницы, которые повествуют о нашем прошлом.
Заключение
Основной вывод настоящей работы заключается в том, что решение проблемы совместимости свободы воли человека с божественным предвидением связано с представлением о Боге, находящемся вне времени. Суть этого решения хорошо выразил Л. М. Лопатин : "Истина о безусловной вневременности Бога и о совершенно одинаковой и полной реальности для него и настоящего, и прошлого, и будущего есть одна из труднейших истин умозрения, наименее вместимая для нашей мысли, бессильной действительно вырваться из отношений времени, в которых протекает все наше существование. А между тем эта истина с аналитической необходимостью вытекает из самого понятия об абсолютном сущем: ее отрицание вносит в это понятие явное противоречие, обращая абсолютное бытие в нечто всецело обусловленное своим прошлым и ограниченное своим будущим. Особенно нам непонятна реальность для Божественного сознания будущих свободных актов твари. Нам часто кажется, что предвидение возможно лишь под условием совершенной предопределенности будущих событий в прошлых событиях. Так нередко рассуждают и философы. Они не замечают, что при этом они разум Божий, по подобию своего собственного, ограничивают настоящим и допускают для Божественной мысли только вывод к будущему или догадку о нем; потому что если б они поняли со всей отчетливостью, что Божество интимно и непосредственно воспринимает само будущее, то для них было бы безразличным, что именно оно при этом воспринимает, – однозначно необходимое, внутренне свободное или даже совсем случайное: оно просто воспринимает все, что будет" [9].
C представлением о вневременном существовании Бога проблема детерминизма обретает иное содержание и становится совершенно прозрачной. Суть проблемы – не во временных отношениях, не в первичности во времени события или его предвидения, а в первичности акта воли. Свобода состоит в беспричинном акте воли. Если воля человека всегда и полностью зависит от Божьей воли, то свободы выбора нет. Если человек обладает собственной независимой волей, то свобода выбора есть. К этой дихотомии проблема теологического детерминизма сводится полностью, и существование предвидения ничего к ней не добавляет.
С некоторыми модификациями эти рассуждения могут быть распространены и на причинный и логический детерминизм. В проблеме причинного детерминизма все совершенно ясно: если воля человека всегда имеет свою причину в мире явлений, то свобода выбора может быть только субъективной, – человек может считать, что он свободен в выборе просто потому, что не осознает всех причин, побудивших его к определенному выбору. Если воля не определяется полностью причиной, то возможна объективная свобода выбора. В случае логического детерминизма проблема сводится к вопросу о первичности логики или человеческой воли: либо последовательность человеческих поступков определяется развертыванием всеобщей логической последовательности, либо, опять-таки, воля может быть беспричинной.
Таким образом, выбор одного из членов антиномии свободы воли не может быть сделан какими-–-либо формальными приемами, например, логическими рассуждениями. Это вопрос метафизической установки. Существование свободы воли (или отрицание ее) является одним из первичных постулатов философской системы. Мы стремились доказать здесь, что если мы принимаем этот постулат, то свобода воли может
быть непротиворечиво совмещена с возможностью предвидения.
Примечания
1. См.: God, Foreknowledge, and Freedom // Ed. by J. M. Fischer. Stanford, Calif., Stanford University Press, 1989.
2. Ibid.
3. См.:
Гулидов А.И., Наберухин Ю.И. Новые подходы к интерпретации аристотелевской проблемы будущей истинности // Философия науки. 1997. № 1 (3). С.16 – 23.4. См.:
Plantinga A. On Ockam's Way Out // God, Foreknowledge, and Freedom. P.183,184.5. На самом деле возможна ситуация, когда аргумент логического детерминизма имеет смысл. Это – случай научного предвидения (см. рис.3). Однако вопрос о логическом детерминизме там и не возникает: детерминизм там уже обусловлен однозначными причинно-следственными связями на основе необходимых законов природы.
6. Лукасевич Я. О детерминизме. // Вопр. философии.1995. № 5. С. 62.
7. Там же.
8. Fischer J.M. Introduction: God and Freedom // God, Foreknowledge, and Freedom. P.43.
9. Лопатин Л. М. Аксиомы философии. М.: Росспэн,. 1996. С. 425 – 426.
Foreknowledge and Determinism
O.A. Shmagunov and Yu.I. Naberukhin
Two kinds of determinism – the theological one relating to the existence of the omniscient God, and the logical one concerning the truth of future contingents are investigated. The immediate foreknowledge is shown to take place outside of time, i.e. it does not depend on temporal relation between an event and act of its foreknowing. Compatibility of human freedom to do otherwise and God’s foreknowledge implies atemporal existence of God.
Новосибирский государственный университет
630090 Новосибироск-90
ул. Пирогова, 1.
E-mail: naber@philosophy.nsc.ru.